MANUAL
STEP Handle reader ST2012
Innhold
6.1 Opprett system og legg til enhet
1 Technical Specifications
| Specifikations | ST2012 |
| Strøm | 3,6V ER18505 |
| Strømforbruk | 139 μA (vila) 969 μA (Autentisering) |
| Kort-teknologi | MiFare, MiFare DesFire ev1, ev2, ev3 |
| Lesreavstand | 10–30 mm (avhengig av korttype) |
| Lysindikasjon | LED Red/Green |
| Lydindikasjon | Akustisk buzzer |
| IP standard | IP21 |
| Farge | Sort |
| Kommunikasjon | BLE, MiFare |
| Driftsmiljø | 0–50 °C |
| Dimensjoner (en side) | 62 x 160 x 71 mm (H x W x D) |
2 Oversikt
Følgende er en oversikt over STEP Handle reader ST2012.
2.1 STEP Handle reader
3 Inkludert i pakken
For å åpne batteridekselet trenger du en 1,5 mm unbrakonøkkel
Batteriet er forhandsmontert i håndtaket
4 Installasjon
Følgende instruksjoner gjelder for installasjon av STEP Handle reader ST2012.
4.1 Mål
Pakken inneholder 2 stk. avkortbare skruer med lengde 85 mm.
Når skruen er montert i håndtaket, er den faktiske lengden 75 mm.
Det følger med 1 stk. 8 mm firkantpinne med lengde 70 mm.
Se nedenfor for å kontrollere målene mot dørens A-mål.
Lengde på firkantpinnne: A-mål + 5–18 mm
Lengde på skruer: A-mål + 20–25 mm
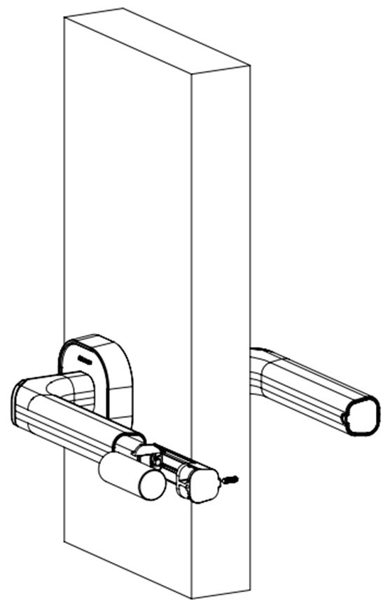
4.2 Fysisk installasjon
1.
Installer firkantpinnen i dørvrideren slik at fjæren klikker inn i hullet. Kontroller at den sitter ordentlig fast.
2.
Monter yttervrideren på utsiden av døren.
3.
Monter innerrosetten med to skruer, og trykk plastdekselet på plass.
4.
Monter innervrideren, og trykk deretter plastdekselet på plass.
5.
Trekk ut batteriisolasjonstappen for å starte håndtaket.
5 Strømforsyning
1 batteri, ER18505, 3.6V. 1. batteri er inkludert i produktet.
Artikkelnummer: ST2089
5.1 Batteri
Fjern stoppeskruen på baksiden av håndtaket med en 1,5mm sekskantnøkkel, og ta ut batteriholderen.
Monter det nye batteriet i batteriholderen og sett den inn i håndtaket igjen.
Lås batteriholderen med stoppeskruen fra baksiden.
6. StepLock Lite APP
Følgende instruksjoner gjelder for å legge til dørhåndtaket STEP ST2012 i StepLock Lite-appen.
6.1 Opprette system og enheter
- Innstillinger (tannhjulet) > Opprett system.
2. Skriv inn systemnavn > Legg til enhet og opprett system > Skann nøkkelkortet med baksiden av mobiltelefonen.
Merk: Du kan ikke opprette et system uten en enhet.
3. Nå finner du systemet ditt med den tilkoblede enheten under «Dører».
For å legge til flere enheter, gå til Admin > velg gjeldende system
4. Administrer enheter > Legg til enhet > Skann nøkkelkortet med baksiden av mobiltelefonen.
For mer informasjon om StepLock Lite-appen, se fullstendig manual: «StepLock Lite App»